Annika_Bastacky_SpeedupSlowdownSuit_3.jpg

Graduate Thesis

 

Graduate Thesis

Speculative work from my MFA at California college of the arts, 2018-2020

 
 
 
 

movement as production

My thesis body of work focused on labor, discipline, and performance. I created a set of interactive garments that explored the ways in which, through movement, our bodies generate shareholder value in certain contexts, and creative expression in others. I applied the logics of lean production, as seen in contemporary industrial patents, to handmade theatrical garments. They invite those who wear them to experience constrained movement, and to generate improvised embodiments.

 
 
 
 

Exploring Industrial Patents

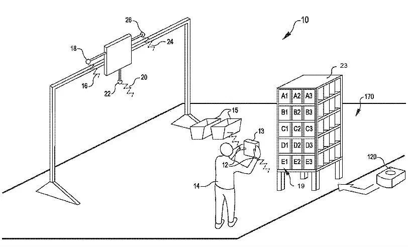
An Amazon patent, granted in 2018, specifies a wristband which can triangulate the position of a worker’s hand in relation to inventory bins at fulfillment centers. It gives haptic feedback to help employees quickly locate inventory for order fulfillment.

 
 
 
 

Speedup / Slowdown suit, 2019 - 2020

This ‘smart’ suit requires its wearer to move quickly, in order to keep the suit quiet. This work was inspired by the Amazon ultrasonic wrist tracking patent, and the industrial concept of the speedup to increase production. A motion sensor, embedded in a soft circuit sash, may be placed on different joints of the body to encourage new movements. If its wearer moves too slowly, a buzzer on their shoulder will sound continuously until they speed up.

 
 
 
 

exertion glyphs

The sash moves in keeping with the speed and intensity of a given movement. I translated their movements into abstract glyphs, which communicate exertion in a strange and novel way.

 
 
 
 

sit down shirt + slacks, 2020

A mashup of historical reference and commentary on contemporary working conditions for digital laborers, these garments are inspired by the sitdown as a labor tactic. The slacks feature handles affixed to the legs. A strap on the back waistband is threaded through a loop on the back of the shirt.  These garments break down the act of sitting down into discrete kinesthetic gestures.

 
 
 
 
 
 

please, sit

Sitting down is preparing to work if you’re a digital laborer. Sitting down means stopping work if you’re on the industrial assembly line. This simple gesture is compliant or defiant respectively, depending on its context.

 
 
 
 
 

The back hems of the pants feature velcro enclosures, to secure one into an optimal ‘working position’ in one’s favorite desk chair.

 
 
 

us department of augmented productivity / militant calisthenics, 2019

In the future, the US Department of Augmented Productivity—a subsidiary of the US Department of Labor—could oversee the trajectory of technological innovation as it relates to productivity and profit seeking. An immersive installation and participatory event was held at the Hubbel Street Gallery on campus at CCA.

 
 
 
 
 
 

movement lexicon

In a future world where our movements on the job may be regulated and calculated down to the cents per micro gesture, how might we communicate with one another?